| Estado de Disponibilidad: | |
|---|---|
| Cantidad: | |
RJ-3680
HEE
Diseñada para condiciones de trabajo al aire libre y al aire libre, esta escotilla hermética de acción rápida ofrece un rendimiento confiable de sellado hermético, operación de acción rápida por parte de una sola persona y durabilidad excepcional, brindando acceso seguro y conveniente para el paso del personal y el mantenimiento de equipos en cubiertas abiertas de embarcaciones marinas, plataformas marinas, equipos portuarios e instalaciones industriales al aire libre. Fabricada con una estructura principal de acero de alta calidad y componentes centrales de acero inoxidable resistentes a la corrosión, la escotilla resiste elementos severos como lluvia intensa, rocío de mar, niebla salada, arena y viento fuerte, lo que garantiza un rendimiento estable a largo plazo en entornos exteriores exigentes.
Parámetro | Especificación |
Modelo No. | RJ-3680 |
Cubierta de escotilla y material de brazola | Acero estructural de primera calidad |
Material de la junta de sellado | Neopreno de alta elasticidad |
Modo de funcionamiento | Operación de acción rápida con un solo volante |
Material de los componentes giratorios y de bloqueo del núcleo | Acero inoxidable |
Material del casquillo de la bisagra | Nylon |
Material de embalaje de sellado | Grafito |
Acabado estándar | Imprimación y capa final anticorrosión |
Escenarios de aplicación primaria | Cubiertas marinas abiertas, plataformas marinas, instalaciones portuarias, instalaciones industriales al aire libre |
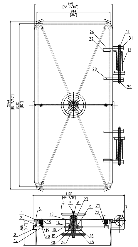
No. | Nombre y especificaciones | Material |
1 | Conjunto de la cubierta de escotilla | STEEL |
2 | Ensamblaje | STEEL |
3 | Junta de escotilla | Neopreno |
4 | MONTAJE DEL VOLANTE | STEEL |
5 | Eje central | ACERO INOXIDABLE |
6 | MERMELADA | ACERO INOXIDABLE |
7 | AJUSTE DEL PIÑÓN | STEEL |
8 | MONTAJE DE BOLSILLO PARA PERROS | STEEL |
9 | PASADOR | ACERO INOXIDABLE |
10 | Brazo | ACERO INOXIDABLE |
11 | PASADOR DE BISAGRA | ACERO INOXIDABLE |
12 | RESORTE DE BISAGRA | ACERO INOXIDABLE |
13 | COJINETE | NYLON |
14 | EMBALAJE | GRAFITO |
15 | PIN DEL BRAZO PARA PERRO | ACERO INOXIDABLE |
16 | Conjunto de bloque giratorio | ACERO INOXIDABLE |
17 | Guía giratoria | LATÓN |
18 | BOTÓN DE AJUSTE | STEEL |
19 | MUELLE DE GUÍA GIRATORIA | ACERO INOXIDABLE |
20 | ENGRASE | ACERO INOXIDABLE |
21 | ARANDELA | ACERO INOXIDABLE |
22 | TORNILLO | ACERO INOXIDABLE |
23 | MANGA | STEEL |
24 | MANGA | STEEL |
25 | CAPARAZÓN | STEEL |
26 | HOJA DE BISAGRA | STEEL |
27 | SOPORTE DE MUELLE | STEEL |
28 | SOPORTE FIJADOR DE MUELLE | STEEL |
29 | PASADOR | ACERO INOXIDABLE |
30 | LLAVE | ACERO INOXIDABLE |
31 | ARANDELA | ACERO INOXIDABLE |
Esta escotilla hermética operada por volante cuenta con un sistema de accionamiento por volante centralizado, que permite que una sola persona la abra y cierre sin herramientas en segundos, lo que mejora significativamente la eficiencia del mantenimiento y reduce el tiempo de operación en condiciones climáticas adversas.
La junta de neopreno de alta elasticidad, combinada con una estructura de bloqueo uniforme de múltiples puntos, forma un sello hermético continuo, bloqueando eficazmente la entrada de agua de lluvia, rocío de mar, arena, polvo y viento al espacio cerrado, protegiendo el equipo interno y al personal de los elementos externos agresivos.
La estructura principal está fabricada con acero estructural de alta resistencia, con excepcional resistencia al impacto y capacidad de carga, adaptándose a vibraciones dinámicas y cargas de impacto en embarcaciones y plataformas marinas, asegurando integridad estructural a largo plazo sin deformación.
Todos los componentes principales giratorios, de bloqueo y de sujeción están hechos de acero inoxidable, con mejoras anticorrosión opcionales, lo que brinda una excelente resistencia a la corrosión por niebla salina y a la intemperie, lo que extiende la vida útil y reduce los costos de mantenimiento a largo plazo para aplicaciones industriales de escotillas de acceso herméticas para exteriores .
El diseño modular permite el reemplazo rápido de piezas de desgaste, incluidas juntas de sellado, casquillos y resortes, sin un desmontaje complejo, lo que minimiza el tiempo de inactividad para mantenimiento y reparación.
La escotilla hermética de acción rápida funciona a través de un sistema de bloqueo síncrono centralizado accionado por volante. Cuando se gira el volante, hace girar el eje central de acero inoxidable, lo que activa la rueda dentada de ajuste y múltiples brazos de garra para lograr un bloqueo o liberación sincrónico y uniforme. El par de rotación del volante se convierte en una fuerza de compresión equilibrada en toda la circunferencia de la tapa de la escotilla, comprimiendo uniformemente la junta de sellado de neopreno entre la tapa de la escotilla y la brazola para formar un sello hermético continuo y sin espacios. La estructura de bisagra asistida por resorte reduce el esfuerzo de apertura, mientras que el casquillo de nailon y el empaque de grafito garantizan un funcionamiento suave y resistente al desgaste de los componentes giratorios. En el estado cerrado, la escotilla resiste vientos fuertes, lluvias intensas y rocío del mar, manteniendo un rendimiento de sellado estable en entornos marinos y exteriores dinámicos.
Antes de la instalación, confirme que el tamaño de la abertura de la superficie de instalación coincida con las dimensiones de la brazola de la escotilla y asegúrese de que la superficie de instalación sea plana y nivelada para evitar tensiones desiguales en la junta de sellado después de la instalación.
Suelde la brazola a la base de instalación con soldadura completa y uniforme, asegurándose de que la brazola esté alineada verticalmente y libre de deformaciones por soldadura. Después de soldar, elimine toda la escoria de soldadura y aplique un revestimiento anticorrosión al área soldada para evitar la oxidación y la corrosión.
Lubrique el volante, el eje giratorio y los componentes de la bisagra con grasa impermeable cada 3 meses. Inspeccione la junta de sellado de neopreno en busca de desgaste y envejecimiento cada 6 meses y reemplácela de inmediato si encuentra daños. Verifique anualmente el ajuste de los brazos del perro de bloqueo para garantizar un rendimiento hermético constante.
Sí, está diseñado específicamente para cubiertas marinas abiertas, plataformas marinas y otros ambientes marinos al aire libre hostiles, con una excelente resistencia al rocío del mar, la niebla salina, las fuertes lluvias, los fuertes vientos y la erosión de la arena.
Sí, el diseño de acción rápida de un solo volante permite la apertura y el bloqueo por parte de una sola persona y sin herramientas, en segundos, incluso en condiciones climáticas adversas, lo que mejora el mantenimiento y la eficiencia del acceso.
Ofrecemos servicios personalizados que incluyen ajuste de tamaño, acabado galvanizado en caliente, construcción completa en acero inoxidable y alturas de brazolas personalizadas para cumplir con los requisitos específicos del proyecto y la aplicación.
Diseñada para condiciones de trabajo al aire libre y al aire libre, esta escotilla hermética de acción rápida ofrece un rendimiento confiable de sellado hermético, operación de acción rápida por parte de una sola persona y durabilidad excepcional, brindando acceso seguro y conveniente para el paso del personal y el mantenimiento de equipos en cubiertas abiertas de embarcaciones marinas, plataformas marinas, equipos portuarios e instalaciones industriales al aire libre. Fabricada con una estructura principal de acero de alta calidad y componentes centrales de acero inoxidable resistentes a la corrosión, la escotilla resiste elementos severos como lluvia intensa, rocío de mar, niebla salada, arena y viento fuerte, lo que garantiza un rendimiento estable a largo plazo en entornos exteriores exigentes.
Parámetro | Especificación |
Modelo No. | RJ-3680 |
Cubierta de escotilla y material de brazola | Acero estructural de primera calidad |
Material de la junta de sellado | Neopreno de alta elasticidad |
Modo de funcionamiento | Operación de acción rápida con un solo volante |
Material de los componentes giratorios y de bloqueo del núcleo | Acero inoxidable |
Material del casquillo de la bisagra | Nylon |
Material de embalaje de sellado | Grafito |
Acabado estándar | Imprimación y capa final anticorrosión |
Escenarios de aplicación primaria | Cubiertas marinas abiertas, plataformas marinas, instalaciones portuarias, instalaciones industriales al aire libre |
No. | Nombre y especificaciones | Material |
1 | Conjunto de la cubierta de escotilla | STEEL |
2 | Ensamblaje | STEEL |
3 | Junta de escotilla | Neopreno |
4 | MONTAJE DEL VOLANTE | STEEL |
5 | Eje central | ACERO INOXIDABLE |
6 | MERMELADA | ACERO INOXIDABLE |
7 | AJUSTE DEL PIÑÓN | STEEL |
8 | MONTAJE DE BOLSILLO PARA PERROS | STEEL |
9 | PASADOR | ACERO INOXIDABLE |
10 | Brazo | ACERO INOXIDABLE |
11 | PASADOR DE BISAGRA | ACERO INOXIDABLE |
12 | RESORTE DE BISAGRA | ACERO INOXIDABLE |
13 | COJINETE | NYLON |
14 | EMBALAJE | GRAFITO |
15 | PIN DEL BRAZO PARA PERRO | ACERO INOXIDABLE |
16 | Conjunto de bloque giratorio | ACERO INOXIDABLE |
17 | Guía giratoria | LATÓN |
18 | BOTÓN DE AJUSTE | STEEL |
19 | MUELLE DE GUÍA GIRATORIA | ACERO INOXIDABLE |
20 | ENGRASE | ACERO INOXIDABLE |
21 | ARANDELA | ACERO INOXIDABLE |
22 | TORNILLO | ACERO INOXIDABLE |
23 | MANGA | STEEL |
24 | MANGA | STEEL |
25 | CAPARAZÓN | STEEL |
26 | HOJA DE BISAGRA | STEEL |
27 | SOPORTE DE MUELLE | STEEL |
28 | SOPORTE FIJADOR DE MUELLE | STEEL |
29 | PASADOR | ACERO INOXIDABLE |
30 | LLAVE | ACERO INOXIDABLE |
31 | ARANDELA | ACERO INOXIDABLE |
Esta escotilla hermética operada por volante cuenta con un sistema de accionamiento por volante centralizado, que permite que una sola persona la abra y cierre sin herramientas en segundos, lo que mejora significativamente la eficiencia del mantenimiento y reduce el tiempo de operación en condiciones climáticas adversas.
La junta de neopreno de alta elasticidad, combinada con una estructura de bloqueo uniforme de múltiples puntos, forma un sello hermético continuo, bloqueando eficazmente la entrada de agua de lluvia, rocío de mar, arena, polvo y viento al espacio cerrado, protegiendo el equipo interno y al personal de los elementos externos agresivos.
La estructura principal está fabricada con acero estructural de alta resistencia, con excepcional resistencia al impacto y capacidad de carga, adaptándose a vibraciones dinámicas y cargas de impacto en embarcaciones y plataformas marinas, asegurando integridad estructural a largo plazo sin deformación.
Todos los componentes principales giratorios, de bloqueo y de sujeción están hechos de acero inoxidable, con mejoras anticorrosión opcionales, lo que brinda una excelente resistencia a la corrosión por niebla salina y a la intemperie, lo que extiende la vida útil y reduce los costos de mantenimiento a largo plazo para aplicaciones industriales de escotillas de acceso herméticas para exteriores .
El diseño modular permite el reemplazo rápido de piezas de desgaste, incluidas juntas de sellado, casquillos y resortes, sin un desmontaje complejo, lo que minimiza el tiempo de inactividad para mantenimiento y reparación.
La escotilla hermética de acción rápida funciona a través de un sistema de bloqueo síncrono centralizado accionado por volante. Cuando se gira el volante, hace girar el eje central de acero inoxidable, lo que activa la rueda dentada de ajuste y múltiples brazos de garra para lograr un bloqueo o liberación sincrónico y uniforme. El par de rotación del volante se convierte en una fuerza de compresión equilibrada en toda la circunferencia de la tapa de la escotilla, comprimiendo uniformemente la junta de sellado de neopreno entre la tapa de la escotilla y la brazola para formar un sello hermético continuo y sin espacios. La estructura de bisagra asistida por resorte reduce el esfuerzo de apertura, mientras que el casquillo de nailon y el empaque de grafito garantizan un funcionamiento suave y resistente al desgaste de los componentes giratorios. En el estado cerrado, la escotilla resiste vientos fuertes, lluvias intensas y rocío del mar, manteniendo un rendimiento de sellado estable en entornos marinos y exteriores dinámicos.
Antes de la instalación, confirme que el tamaño de la abertura de la superficie de instalación coincida con las dimensiones de la brazola de la escotilla y asegúrese de que la superficie de instalación sea plana y nivelada para evitar tensiones desiguales en la junta de sellado después de la instalación.
Suelde la brazola a la base de instalación con soldadura completa y uniforme, asegurándose de que la brazola esté alineada verticalmente y libre de deformaciones por soldadura. Después de soldar, elimine toda la escoria de soldadura y aplique un revestimiento anticorrosión al área soldada para evitar la oxidación y la corrosión.
Lubrique el volante, el eje giratorio y los componentes de la bisagra con grasa impermeable cada 3 meses. Inspeccione la junta de sellado de neopreno en busca de desgaste y envejecimiento cada 6 meses y reemplácela de inmediato si encuentra daños. Verifique anualmente el ajuste de los brazos del perro de bloqueo para garantizar un rendimiento hermético constante.
Sí, está diseñado específicamente para cubiertas marinas abiertas, plataformas marinas y otros ambientes marinos al aire libre hostiles, con una excelente resistencia al rocío del mar, la niebla salina, las fuertes lluvias, los fuertes vientos y la erosión de la arena.
Sí, el diseño de acción rápida de un solo volante permite la apertura y el bloqueo por parte de una sola persona y sin herramientas, en segundos, incluso en condiciones climáticas adversas, lo que mejora el mantenimiento y la eficiencia del acceso.
Ofrecemos servicios personalizados que incluyen ajuste de tamaño, acabado galvanizado en caliente, construcción completa en acero inoxidable y alturas de brazolas personalizadas para cumplir con los requisitos específicos del proyecto y la aplicación.
El DF-274-5 2 ESCAPA DE ALTA EL ESCRITURA DEL PERRO es una cubierta marina premium adaptada diseñada por Hee (Changshu Haichuan Engineering & Equipment Co., Ltd.), un fabricante líder con sede en China que se especializa en equipos marinos y marinos. Diseñado para abordar la necesidad crítica de una resistencia confiable al agua en ambientes marinos duros, esta escotilla sirve como una barrera protectora para las aberturas de la cubierta, evitando la entrada de agua, la acumulación de polvo y la corrosión que podría dañar los componentes internos de los vasos, las plataformas en alta mar o la infraestructura portuaria.